Ruostumattomasta teräksestä valmistettu pakoputken äänenvaimennin kiristimillä sopii seuraaviin lämmittimiin:
Ilmalämmittimet:
AUTOTERM Air 8D
AUTOTERM Air 9D
Nestemäiset lämmittimet:
AUTOTERM Flow 14D
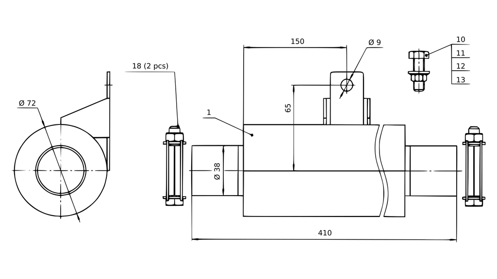
Halkaisija: 38 mm
Ruostumattoman teräksen laatu: AISI 321 / EN 1.4541
Sisältää:
Pakoputken äänenvaimennin - 1 kpl
Puristin - 2 kpl
Pultti M8 - 1 kpl
Mutteri M8 - 1 kpl
Lukkoaluslevy 8 - 1 kpl
Aluslevy 8 - 1 kpl
Lisätietoja
| Perustiedot | |
|---|---|
| Toimittajasatavuus arvio | SAATAVUUSTIEDOT OSTOSKORINAPIN ALLA |
| Fyysiset | |
|---|---|
| Halkaisija | 24mm |
| Luokittelemattomat | |
|---|---|
| Veroluokka | ALV 25,5% |
Suositeltavat tuotteet:
Vertaile
Vertaile
Your Dynamic Snippet will be displayed here... This message is displayed because you did not provided both a filter and a template to use.
To install this Web App in your iPhone/iPad press
and then Add to Home Screen.
